发布时间:2022-12-02 10:48:08
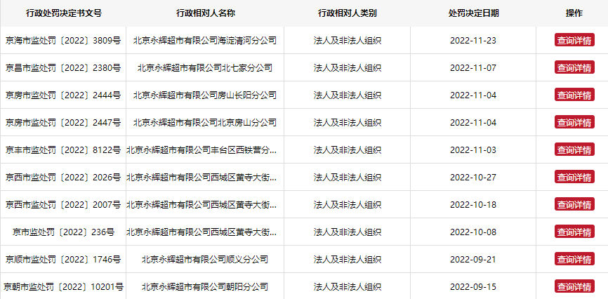
永辉超市海淀清河分公司日前因多款食品混有异物,被北京市海淀区市场监督管理局罚款1万元。永辉超市11月份在北京地区已5次被行政处罚,其中4次系因食品安全问题被罚。

图源:北京市场监管局网站
食品混有异物的具体情况为:“稻香村精致五仁月饼”以及“稻香村金丝枣蓉月饼”混有异物应为刷蛋液的刷子毛;“代康海带丝”混有小虫;“御厨坊小迷你月饼”有金属颜色的突起状异物;“美佳园巨无霸汉堡软糖”有1厘米左右的塑料条形异物;“好心情音乐手机压片糖”混有头发;“膳源泽芝麻拌饭海苔”混有头发。
北京市场监管局网站处罚信息显示,经当事人(北京永辉超市有限公司海淀清河分公司)对涉案产品、举报人所提供的购买小票以及实物照片相关举报材料进行确认,涉案产品均为当事人所售,且确实混有异物。北京市海淀区市场监督管理局依法责令当事人改正上述违法行为,并对其罚款1万元,没收违法所得156.92元。

图源:北京市场监管局网站
北京市场监管局网站同时显示,进入11月以来,永辉超市在京已5次被行政处罚,其中4次系因食品安全问题被罚。除11月23日因食品混有异物被罚外,还因销售的鸭血、水萝卜、芹菜不合格被罚。
京公网安备 11010802039537号